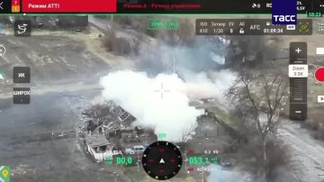
Операторы подразделения беспилотных систем 42 гвардейской мотострелковой дивизии из состава ГрВ «Днепр» ежедневно ведут боевую работу и поражают технику, вооружение, личный состав ВСУ в Запорожской области
Уничтожены транспортное средство пехоты украинских боевиков, БПЛА типа «Баба Яга» и наземный робототехнический комплекс.


















































